账号详情
我的收藏
我的学习
我的主页
退出登录
宠物品类一直是跨境热门品类,疫情以后更是增速惊人。欧美是全球最大的宠物经济市场,在美国,约有69%的家庭饲养了至少一只宠物。有权威数据预测,到2023年全球宠物经济市场预计将达到2979亿元。
宠物热门细分品类包括宠物食品,宠物玩具,宠物美容,宠物喂食,宠物出行等等。
在亚马逊上,我们注意到,一款外表看似普通的宠物笼子,居然畅销第一且拥有高达120000个评论。
这是宠物品牌是Mid West Homes For Pets 家的产品 ,产品材质为铝,具有双开门设计跟独特滑动栓门锁,圆角设计跟耐用涂层能让狗狗安全安置于狗笼之内,组装方便并且还能轻松折叠。
一起看下该品牌的知识产权布局情况
MidWest Homes for Pets品牌权利人为Mid-West Metal Products Company, Inc.旗下拥有包括ICRATE,QUIET TIME等多个子品牌。
商标注册情况如下:
专利方面,MidWest Homes for Pets拥有100多个专利
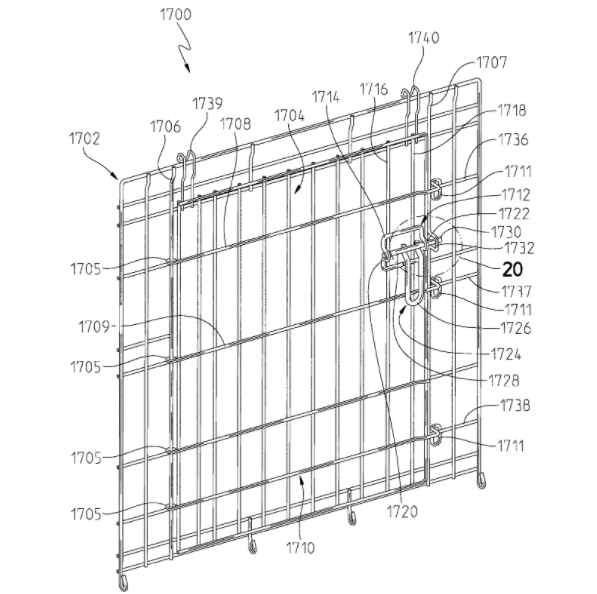
品牌方除了完整产品会申请发明及外观专利之外,一些独特的创意设计也会申请专利。例如下方这个滑动门锁就具有美国发明专利。
发明专利产品需要具体分析,想要了解的卖家可以联系下方客服咨询。
下方列举品牌方几个具有外观专利的产品供卖家参考。
产品一、具有美国,欧盟,加拿大等多个国家的外观专利。
![]()
![]()
产品二、拥有美国,欧盟,加拿大等多国外观专利。
产品三、拥有美国外观专利。
![]()
产品四,宠物床垫,拥有美国外观专利。
本文经授权发布,不代表优乐出海立场。如若转载请联系原作者。
分享
我们建了跨境电商交流群,里面不乏很多经验卖家,扫码回复“加群”,拉你进群。
目前30万+人已关注加入我们
相关标签