账号详情
我的收藏
我的学习
我的主页
退出登录
本次分享三个最新发案的品牌。
MARILYN(玛丽莲梦露)——美国女演员,模特。她是20世纪50年代最流行的性感象征之一,时至今日,玛丽莲梦露的形象依旧被广泛应用于商业之中,成了一个时代的经典印记。
![]()
案件简介及侵权分析 :
本次并不是MARILYN 第一次发起侵权起诉,权利人THE ESTATE OF MARILYN MONROE LLC的最新起诉在22年3月1号发起,案件编号22-cv-859。
案件的起诉理由为:商标侵权
侵权商标为:MARILYN、MARILYN MONROE、 DIAMONDS ARE A GIRL’S BEST FRIEND等文字商标。
具体引证的侵权商标如下:
被告名单如下
除了商标之外,其实玛丽莲梦露的形象、照片、影像等,都是受版权保护的。
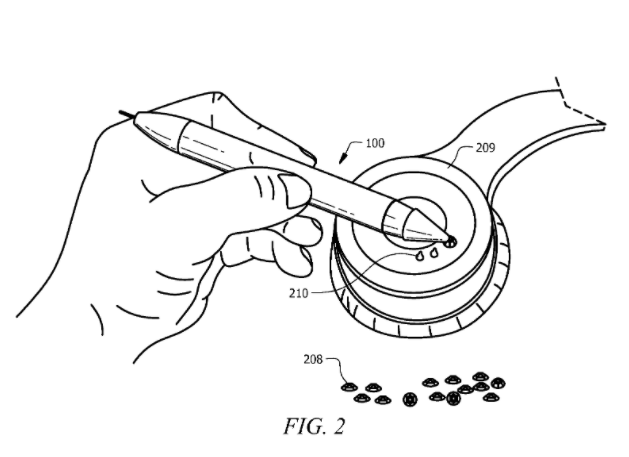
DOUBLE ENDED HAND TOOL 双头美甲笔是一款美甲手工工具,可以在美甲的时候辅助美甲师更便捷进行美甲工作。
![]()
案件简介及侵权分析 :
品牌权利人为Kellie DeFries,最新的起诉案件在2022年3月8号发起,案件编号22-cv-549。
品牌起诉理由,专利侵权。
![]()
该产品同时拥有外观专利跟发明专利。
在本次起诉中,权利人对被告的信息掌握非常充分,起诉状中详细列举了被告的地址,产品ASIN,侵权金额以及具体侵权产品。
![]()
![]()
被告名单如下
Universal Dyeing & Printing是一家印花加工商,同时也是美国唯一一家具备数码印花、传统丝网印花和混合数码丝网印花能力的织物印花公司,除了拥有丰富多彩的印花图案之外还能提供私人订制商品。
案件简介及侵权分析 :
品牌权利人为UNIVERSAL DYEING & PRINTING, INC.最新案件在22年2月28号发起,案件编号22-cv-1373。
品牌起诉理由:版权侵权
引证侵权版权为:Subject Design( 版权号No. VA 1-822-420)
下面是起诉状中列举的侵权对比图,左边为原告产品,右边是被告方。
![]()
值得一提的是,本次的被告仅为单个卖家
根据起诉状中的信息可以看到,本次品牌方之所以会发起起诉,是因为品牌方在亚马逊中投诉了被告卖家,之后被告向亚马逊提交了反通知counter-notices,根据反通知规则,原告品牌需要在10天之内发起起诉,否则被告产品将会恢复销售,于是才有了这起案件。
经过查询,品牌方的版权非常多,有1574个
后续品牌方很有可能会继续在平台发起版权投诉。大家可以通过官网了解更多品牌信息进行规避:https://www.udptextile.com/
总结
以上就是今天分享的三个起诉品牌。
起诉律所分别如下:
梦露:THE SLADKUS LAW GROUP
工具笔:Leavitt Eldredge Law Firm
印花图案:Donigerlawfirm
通过这三个案例我们可以看到,侵权起诉不再仅仅只针对商标,版权及专利的起诉案例现在也很高发,卖家们在平时的销售过程中,要更加全方位地对产品进行侵权规避。
冻结已经开始,卖家们抓紧时间自查店铺,下架风险产品。遇到侵权冻结,及时联系处理,我们将第一时间提供有效解决方案。
本文经授权发布,不代表优乐出海立场。如若转载请联系原作者。
分享
我们建了跨境电商交流群,里面不乏很多经验卖家,扫码回复“加群”,拉你进群。
目前30万+人已关注加入我们
相关标签